Aller au contenu

MOULURES ET ACCESSOIRES

POUR UN DÉCOR HARMONIEUX

Une vaste sélection de composants d’escalier, de grilles de ventilation encastrées, de réduits et de moulures en T, conçus pour assurer un assortiment parfait avec votre plancher de bois franc Vintage.

Demandez conseil auprès de votre détaillant Vintage pour choisir les moulures qui conviennent le mieux à votre projet.

NEZ DE MARCHE

Nez de marche carré assorti de style Euro

Harmonisez votre décor avec des moulures exclusives, conçues pour un assemblage précis et une coordination parfaite des couleurs à l’échelle de l’ensemble de nos produits.

Disponibilité :

Textures : Smooth, Brushed, Sculpted, EdgeSawn, Blade et Rift & Quarter Sawn
Longueurs : 48 po (1220 mm) and 69 po (1753 mm)
Essences : Chêne, Chêne blanc, Érable et Noyer (largeur de 5-1/4 po); Hickory (largeur de 5 po)

Dimensions
A3/4 po19 mm
B5-1/4 po134 mm
C1-1/2 po39 mm
D15/16 po24 mm
E4-5/16 po110 mm
Planchers de 3/4 po (19 mm) d'épaisseur
Solid 3/4 po (19 mm)
Northern Solid Sawn 3/4 po (19 mm)

Sublimez votre intérieur avec des accessoires parfaitement assortis à votre plancher Vintage.

Explorez les composants d'escalier assortis
Nouveau

Nez de marche rond

Assurez une finition soignée pour votre escalier grâce à des moulures en bois véritable, durables et conçues pour allier sécurité et élégance.

Disponibilité :
Texture : Smooth
Longueur : 84 po (2134 mm)
Essences : Chêne, Chêne blanc, Érable, Noyer et Hickory

Dimensions
A3/4 po19 mm
B4-1/4 po108 mm
C1-1/16 po27 mm
D1 po25 mm
E3-1/4 po83 mm
Planchers de 3/4 po (19 mm) d'épaisseur
Solid 3/4 po (19 mm)
Northern Solid Sawn 3/4 po (19 mm)

MARCHES ET CONTREMARCHES

Planches de marche et contremarche

Complétez votre escalier avec des moulures exclusives offrant une correspondance précise des couleurs avec votre plancher et un assemblage sans tracas avec nos nez de marche carrés assortis de style euro.

Disponibilité :
Textures : Smooth, Brushed et Sculpted
Longueur : 48 po (1220 mm)
Essences : Chêne et Chêne blanc

*Autres essences offertes sur commande spéciale

Dimensions
A3/4 po19 mm
B7-3/4 po197 mm
Planchers de 3/4 po(19 mm) d'épaisseur
Northern Solid Sawn 3/4 po (19 mm)

Sublimez votre intérieur avec des accessoires parfaitement assortis à votre plancher Vintage.

Explorez les composants d'escalier assortis

RÉDUITS

Réduit assorti

Créez des transitions fluides grâce à des moulures en bois assorties, offrant un agencement précis des couleurs sur l’ensemble des produits Vintage.

Disponibilité :
Textures : Smooth, Brushed, Sculpted, EdgeSawn, Blade et Rift & Quarter Sawn
Longueur : 78 po (1981 mm)
Essences : Chêne, Chêne blanc, Érable, Noyer et Hickory

Dimensions
A3/4 po19 mm
B2-1/4 po57 mm
C1/8 po3 mm
Planchers de 3/4 po (19 mm) d'épaisseur
Solid 3/4 po (19 mm)
Northern Solid Sawn 3/4 po (19 mm)

Réduit rond

Pensées pour des transitions propres et efficaces, ces moulures en bois sont fabriquées pour assurer robustesse et durabilité.

Disponibilité :
Texture : Smooth
Longueur : 84 po (2134 mm)
Essences : Chêne, Chêne blanc, Érable, Noyer et Hickory

Dimensions
A9/16 po14 mm
B1-1/2 po38 mm
C1/8 po3 mm
Planchers de 9/16 po (14 mm) d'épaisseur
Solid 3/4 po (19 mm)
Northern Solid Sawn 3/4 po (19 mm)

MULTIFONCTIONS

Moulure en T assortie

Optez pour des transitions harmonieuses d’une pièce à l’autre grâce à des moulures assorties, fabriquées à partir du même bois que votre plancher Vintage, pour une uniformité parfaite des couleurs à l’échelle de l’ensemble des produits.

Disponibilité :
Textures : Smooth, Brushed, Sculpted, EdgeSawn, Blade et Rift & Quarter Sawn
Longueur : 78 po (1981 mm)
Essences : Chêne, Chêne blanc, Érable, Noyer et Hickory

Dimensions
A3/4 po19 mm
B1-3/4 po44 mm
C3/8 po10 mm
D1/2 po13 mm
Solid 3/4 po (19 mm)
Northern Solid Sawn 3/4 po (19 mm)

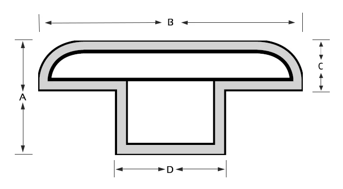
Moulure en T

Parachevez votre projet de plancher avec des moulures en bois véritable pour des transitions fluides d’une pièce à l’autre.

Disponibilité :
Texture : Smooth
Longueur : 84 po (2134 mm)
Essences : Chêne, Chêne blanc, Érable, Noyer et Hickory

Dimensions
A9/16 po15 mm
B1-13/16 po44 mm
C3/16 po5 mm
D3/8 po10 mm
Solid 3/4 po (19 mm)
Northern Solid Sawn 3/4 po (19 mm)

GRILLES DE VENTILATION

Grille de ventilation encastrée en bois assortie

Créez une intégration harmonieuse grâce à ces grilles de ventilation assorties, parfaitement coordonnées en couleur sur l’ensemble de la gamme de produits Vintage et dotées de volets intégrés.

Disponibilité :
Textures : Smooth, Brushed, Sculpted, EdgeSawn, Blade et Rift & Quarter Sawn
Dimensions :
  3 po x 10 po (76 mm x 254 mm)
  4 po x 10 po (102 mm x 254 mm)
Essences : Chêne, Chêne blanc, Érable, Noyer et Hickory

Dimensions
A3/4 po19 mm
B4 po102 mm
C10 po204 mm
D6-3/4 po171 mm
E13 po330 mm
Planchers de 3/4 po (19 mm) d'épaisseur
Solid 3/4 po (19 mm)
Northern Solid Sawn 3/4 po (19 mm)